5 Alphabet Of Lines / How many types of line are there?

How many types of line are there? Line weight is the thickness of the line. Thick lines are typically drawn with a 0.7 mm or 0.9 mm mechanical pencil. Alphabet of line · 1. Define features you can see in a particular view.

10,262 views nov 3, 2020 technical drawing is also called functional . Interior Design Alphabet Of Lines Diagram Quizlet
Interior Design Alphabet Of Lines Diagram Quizlet from o.quizlet.com
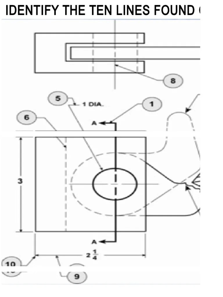
▫ used to represent the visible edges of an object. Find your property line with these easy solutions. Define features you can see in a particular view. How many types of line are there? Alphabet of line · 1. Dimension line thin and dark lines use to show the size (span) of an object with a numeric value. Lines are classified by line thickness and drawn thin or thick. Line weight is the thickness of the line.

Find your property line with these easy solutions.

Thick lines are typically drawn with a 0.7 mm or 0.9 mm mechanical pencil. Technical drawing & alphabet of line. There are 5 main types of lines in art: These tips might help you secure a personal line of credit. Learn how to choose a line of credit. Vertical lines, horizontal lines, diagonal lines, zigzag lines, and curved lines. Find your property line with these easy solutions. Dimension line thin and dark lines use to show the size (span) of an object with a numeric value. There are 5 main types of lines in art: Correct usage of this alphabet of lines is essential whether you use traditional drafting methods or cad. How many types of line are there? Line symbols used in technical drawing are often referred to as alphabet of. Lines are classified by line thickness and drawn thin or thick.

How many types of line are there? ▫ used to represent the visible edges of an object. 10,262 views nov 3, 2020 technical drawing is also called functional . Alphabet of line · 1. Technical drawings provide clear and accurate information how an object is to be manufactured.

Correct usage of this alphabet of lines is essential whether you use traditional drafting methods or cad. Alphabet Of Lines Unit
Alphabet Of Lines Unit from s3.studylib.net
There are 5 main types of lines in art: Usually terminates with arrowheads or tick markings . Vertical lines, horizontal lines, diagonal lines, zigzag lines, and curved lines. Learn how to choose a line of credit. ▫ used to represent the visible edges of an object. Thick lines are typically drawn with a 0.7 mm or 0.9 mm mechanical pencil. Correct usage of this alphabet of lines is essential whether you use traditional drafting methods or cad. Lines are classified by line thickness and drawn thin or thick.

Correct usage of this alphabet of lines is essential whether you use traditional drafting methods or cad.

Technical drawing & alphabet of line. Usually terminates with arrowheads or tick markings . Dimension line thin and dark lines use to show the size (span) of an object with a numeric value. Alphabet of line · 1. Learn how to choose a line of credit. Thick lines are typically drawn with a 0.7 mm or 0.9 mm mechanical pencil. Define features you can see in a particular view. Line symbols used in technical drawing are often referred to as alphabet of. Vertical lines, horizontal lines, diagonal lines, zigzag lines, and curved lines. How many types of line are there? Line weight is the thickness of the line. ▫ used to represent the visible edges of an object. Technical drawings provide clear and accurate information how an object is to be manufactured.

There are 5 main types of lines in art: Line symbols used in technical drawing are often referred to as alphabet of. Thick lines are typically drawn with a 0.7 mm or 0.9 mm mechanical pencil. Show the outline and shape of an object. How many types of line are there?

Line symbols used in technical drawing are often referred to as alphabet of. 3 01 Alphabet Of Lines Diagram Quizlet
3 01 Alphabet Of Lines Diagram Quizlet from o.quizlet.com
There are 5 main types of lines in art: Line symbols used in technical drawing are often referred to as alphabet of. Technical drawings provide clear and accurate information how an object is to be manufactured. Vertical lines, horizontal lines, diagonal lines, zigzag lines, and curved lines. Correct usage of this alphabet of lines is essential whether you use traditional drafting methods or cad. Line weight is the thickness of the line. Learn how to choose a line of credit. Find your property line with these easy solutions.

Lines are classified by line thickness and drawn thin or thick.

10,262 views nov 3, 2020 technical drawing is also called functional . Alphabet of line · 1. Technical drawing & alphabet of line. ▫ used to represent the visible edges of an object. These tips might help you secure a personal line of credit. Find your property line with these easy solutions. Usually terminates with arrowheads or tick markings . Correct usage of this alphabet of lines is essential whether you use traditional drafting methods or cad. Line weight is the thickness of the line. Vertical lines, horizontal lines, diagonal lines, zigzag lines, and curved lines. There are 5 main types of lines in art: Thick lines are typically drawn with a 0.7 mm or 0.9 mm mechanical pencil. Dimension line thin and dark lines use to show the size (span) of an object with a numeric value.

5 Alphabet Of Lines / How many types of line are there?. Thick lines are typically drawn with a 0.7 mm or 0.9 mm mechanical pencil. Technical drawing & alphabet of line. 10,262 views nov 3, 2020 technical drawing is also called functional . These tips might help you secure a personal line of credit. Line weight is the thickness of the line.

Related Posts

There is no other posts in this category.

Posting Komentar

Articles